Elektrischer Lüfter 320/6 Temperatur Problem

  • Moin zusammen,

    Ich habe mal wieder ein Problem und bräuchte eure Hilfe.

    Aktuell läuft mein E-Lüfter nicht bei meinem 320/6. Beide Stufen nicht, somit wird er sehr warm in der Stadt.


    Relais und Sicherung habe ich geprüft. Die beiden Temperaturschalter ebenfalls.


    Ich habe gestern dann mal den Lüfter mal selbst angesteuert über den Stecker mit 12V und Masse. Der funktioniert. Die genaue Funktionsweise ist mir noch nicht ganz klar. Natürlich 1. und 2. Stufe. Kann mir jemand die Funktion genau erläutern?
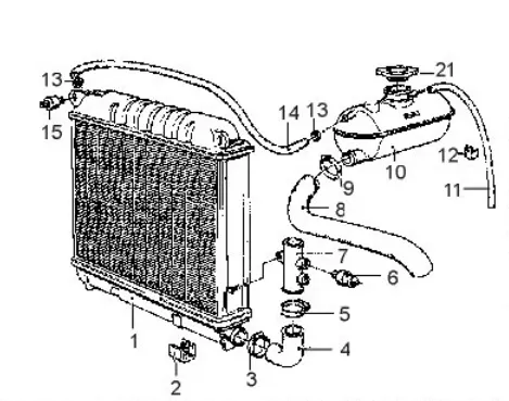
    Es ist ja am Lüfter ein Widerstand verbaut.

    Kabel habe ich ebenfalls durchgemessen.

    Wie kann ich am einfachsten prüfen, was kaputt ist? Oder hat jemand eine genaue Vorgehensweise?

    In einem anderen Beitrag habe ich gelesen, dass man die beiden Stecker von den Temperaturschaltern jeweils aneinanderhalten kann bei eingeschalteter Zündung und dies so prüfen kann. Die beiden Temperaturschalter schließen ja, wenn sie die 91, bzw 99 Grad erreicht haben.


    Vielleicht hat ja jemand eine Idee.

    Lüfter läuft seit kurzem nicht mehr.


    Danke euch.

  • biers94 June 6, 2025 at 11:56 AM

    Changed the title of the thread from “Elektrischer Lüfter 320/6” to “Elektrischer Lüfter 320/6 Temperatur Problem”.
  • Ich denke mal das es so funktioniert: in Position 7, dort sind zwei Temperaturschalter verbaut (91° und 99°). Diese steuern den E-Lüfter, bzw. sind mit dem verschaltet. Stufe I bei 91° Stufe II bei 99°. Denke die sind gegen Masse geschaltet. Eine Schaltung habe ich jetzt grade nicht parat, ist aber bestimmt im "wie helfe ich mir selbst" drin.


    Oder auch mal Hier: ----> E-Lüfter schaltet nicht ein


    Ich suche aber mal nach dem Plan.


    Grüße

  • Der Beitrag sieht sehr hilfreich aus. Werde ich die Tage mal testen und dann Feedback geben. Vielen Dank!

  • Bei mir seit letzter Woche auch Stufe 1 ausgefallen. Die beiden Sicherungen gecheckt und getauscht, Niere und Grill abmontiert. Stufe 2 funktioniert aber. Vermutlich dann auch der Vorwiderstand, den ich mir jetzt bestellt habe. Aufgefallen ist mir, dass das Relais für den Zusatzlüfter im Sicherungskasten gar nicht vorhanden ist. Bin leider elektromäßig nicht bewandert, aber dann dürfte doch Stufe 2 gar nicht anlaufen oder? Es sei denn, der Vorbesitzer hat irgendwas gebrückt oder? Seltsamerweise habe ich nirgendwo eine OEN für das Lüfterrelais gefunden. Relais mit 30, 85, 86 und 76 habe ich zwar zuhauf gefunden, aber keines passend vom Stecksockel.

    Habt Ihr da vielleicht ne Ahnung oder Meinung dazu?

    Dankeschön vorab

    VG Bernd

  • So, ich habe noch die Beiträge durchstöbert und alles nochmal durchgemessen.


    2. Stufe läuft.

    1. Stufe läuft nicht.
    Wenn ich die beiden Kabel vom Sensor aneinander halte von dem 90 Grad Schalter, läuft er auch.

    Am Schalter habe ich 12,XX Volt, wenn ich beide Anschlüsse messe. Also müsste der Sensor ja defekt sein. Korrekt?

  • Bei mir seit letzter Woche auch Stufe 1 ausgefallen. Die beiden Sicherungen gecheckt und getauscht, Niere und Grill abmontiert. Stufe 2 funktioniert aber. Vermutlich dann auch der Vorwiderstand, den ich mir jetzt bestellt habe. Aufgefallen ist mir, dass das Relais für den Zusatzlüfter im Sicherungskasten gar nicht vorhanden ist. Bin leider elektromäßig nicht bewandert, aber dann dürfte doch Stufe 2 gar nicht anlaufen oder? Es sei denn, der Vorbesitzer hat irgendwas gebrückt oder? Seltsamerweise habe ich nirgendwo eine OEN für das Lüfterrelais gefunden. Relais mit 30, 85, 86 und 76 habe ich zwar zuhauf gefunden, aber keines passend vom Stecksockel.

    Habt Ihr da vielleicht ne Ahnung oder Meinung dazu?

    Dankeschön vorab

    VG Bernd

    Hallo Bernd,

    mußt halt mal den Widerstand auf Durchgang messen. Ohne Relais läuft die Stufe 2 normalerweise nicht. Kann sein daß da was gebastelt wurde, z.B. Stufe 2 auf Stufe 1 gelegt. Normal kommt Stufe 1 kurz über Mitte schon, Stufe 2 ab Strich danach. Aber Stufe 2 kommt im Normalbetrieb eigentlich nie, hab ich noch nie erlebt. Ist wahrscheinlich als Notfallreserve gedacht.

    Als Relais sollten eigentlich alle Standard-Relais mit 85-86 und 30-87 passen, kann man notfalls auch direkt mit Kabel brücken oder z.B. ein Fernlichtrelais reinstecken.

    Tschüß,


    Bernd

  • Hallo Bernd (Turmaliner), bei mir ist ein Relais verbaut und die Anschlüsse sind auch ok, also nicht so verschmort wie es auf deinem Bild zu erahnen ist. Möglich dass es bei dir aus "Gründen" entfernt wurde defekt etc. Daher auch nur Stufe I. Da wirst du mal nachschauen müssen warum das so bei dir aussieht.

    Grüße Bernhard - Kurzform auch Bernd :)

  • Hallo Bernd,

    vielen lieben Dank für die aufschlussreichen Fotos. So habe ich auch das passende Relais identifizieren können. Ich überlege noch, ob ich mir die Mühe mache alles auseinanderzurupfen, weil aktuell die Stufe 2 (auch ohne Relais) läuft und nur Stufe 1 nicht. Beide Fühler sind eigentlich neu (der 91 Grad ein Jahr alt), ich baue auf den Vorwiderstand, der mir gestern übersandt wurde. Am Wochenende mache ich am Objekt weiter und werde berichten.

    VG Bernd

  • Moin Bernd (Turmaliner), wenn ich den Bernd 320/6-Bernd richtig verstanden habe, läuft die erste Stufe über den 91 Gradschalter und den Vorwiderstand zuerst. die zweite Stufe schaltet sich dann bei 99 Grad über das Relais zu und der E-Lüfter läuft dann auch deutlich schneller um runter zu kühlen.


    Wenn bei deinem dann die erste Stufe gar nicht läuft und die zweite läuft ohne Relais, dann würde ich dir aber schon dazu anraten die Elektrik zu prüfen. Irgend etwas wurde dann vom Vor oder VorVor bzw. VorVorVor-Besitzer falsch verdrahtet oder aber absichtlich umgangen.


    Wenn bei dir nur Stufe zwei läuft und möglicherweise über den 99 Grad angeschlossen ist, wird deiner aber auch sicherlich wärmer, bevor eigentlich die 91 Grad Stufe hätte schon anlaufen und runterkühlen müssen.


    Ich drücke dir die Daumen. Solltest du noch Bilder brauchen, mache ich gerne welche.


    Mein kleiner VFL Sechzylinder ist gerade in der Werkstatt und soll für den TÜV noch geschweißt werden (ist ja auch grade mal 6 Monate drüber .) ).


    Der Schweller hinten rechts und auch der Innenschweller sind etwas knusprig. Die Werkstatt meines Vertrauens hat jetzt aber Zeit sich um mein Auto zu kümmern. Ein paar Rost-Präventivmaßnahmen habe ich auch gemacht und habe zugearbeitet.


    Morgen kommt dann ein Rep.-Blech noch außen drauf und danach wird er wieder schön gemacht (in dem Bereich).


    Wenn er durch den TÜV kommt, versuche ich mal Windeck an zu streben.....vielleicht sieht man sich ja dort!


    Grüße Bernhard

  • Hallo Bernd,

    vielen lieben Dank für die aufschlussreichen Fotos. So habe ich auch das passende Relais identifizieren können. Ich überlege noch, ob ich mir die Mühe mache alles auseinanderzurupfen, weil aktuell die Stufe 2 (auch ohne Relais) läuft und nur Stufe 1 nicht. Beide Fühler sind eigentlich neu (der 91 Grad ein Jahr alt), ich baue auf den Vorwiderstand, der mir gestern übersandt wurde. Am Wochenende mache ich am Objekt weiter und werde berichten.

    VG Bernd

    Ach Bernd, ganz vergessen versuch aber auch mal bevor du irgend etwas versuchst zurück zu verändern auch mal bitte mit einem IR Thermometer oder einer Wärmebildkamera die tatsächliche Temperatur zu ermitteln, wenn der Lüfter bei dir an geht. Würde mich echt mal interessieren wie das bei dir geschaltet bzw. "verschaltet" wurde.


    Grüße Bernhard

  • Hallo Bernhardt,

    danke für Deine Tipps und Infos. Habe bei mir Zusatzinstrumente verbaut. Der Fühler für das Kühlwasser ist nicht gar so weit von den serienmäßigen Sensoren verbaut. Von daher ist gut nachverfolgbar, dass die Fühler (eigentlich) zu den beiden Stufen relativ genau auslösen. Das Blöde ist, in der Werkstatt wurde der 99 Grad Geber erneuert und durch Brücken getestet, Stufe 1 selbst funktionierte noch auf der Heimfahrt und ging erst nach zwei Wochen im Betrieb nicht mehr.

    VG Bernd

  • Hallo Bernhardt,

    danke für Deine Tipps und Infos. Habe bei mir Zusatzinstrumente verbaut. Der Fühler für das Kühlwasser ist nicht gar so weit von den serienmäßigen Sensoren verbaut. Von daher ist gut nachverfolgbar, dass die Fühler (eigentlich) zu den beiden Stufen relativ genau auslösen. Das Blöde ist, in der Werkstatt wurde der 99 Grad Geber erneuert und durch Brücken getestet, Stufe 1 selbst funktionierte noch auf der Heimfahrt und ging erst nach zwei Wochen im Betrieb nicht mehr.

    VG Bernd

    Mhhhh, aber trotz alledem merkwürdig, wie der Lüfter dann bei 99° angesteuert werden kann, ohne das dort ein Relais verbaut ist?? Na ja, du wirst bestimmt berichten.

    Grüße Bernhard

  • So, ich habe noch die Beiträge durchstöbert und alles nochmal durchgemessen.


    2. Stufe läuft.

    1. Stufe läuft nicht.
    Wenn ich die beiden Kabel vom Sensor aneinander halte von dem 90 Grad Schalter, läuft er auch.

    Am Schalter habe ich 12,XX Volt, wenn ich beide Anschlüsse messe. Also müsste der Sensor ja defekt sein. Korrekt?

    Ich habe heute meinen 91 Grad Schalter getauscht, läuft wieder.

Participate now!

Don’t have an account yet? Register yourself now and be a part of our community!